小米华为投资,这家半导体厂商拟冲刺IPO,已进行辅导备案
作者: 发布时间:2026-03-01 08:02:14 浏览量:
半导体联盟消息,2020年9月2日,江苏监管局披露了13家企业辅导备案信息公示表。其中,无锡市好达电子股份有限公司(简称“好达电子”)已于8月26日进行辅导备案登记,保荐机构为安信证券,随后,9月3日,好达电子亦在其官网发布了首次公开发行股票并上市辅导备案信息公告。
根据调查,好达电子成立于1999年,是国内知名的声表面波器件生产厂商,主要产品包括声表面波滤波器、双工器、谐振器,应用于手机、通信基站,LTE模块,物联网,车联网,智能家居,及其它射频通讯领域。
目前,好达电子拥有先进的生产线,目前有15000平米的净化厂房,有能生产0.25um微线条芯片生产线,有能生产CSP倒装产品封装的生产线,可生产产品尺寸为1.6*1.2的双工器、0.9*0.7的滤波器。
官网信息显示,好达电子表面波器件的产量国内名列前茅,质量及技术指标处于国内先进水平,与国际水平接近。目前主要客户包括华为、小米,中兴、三星、联想等。

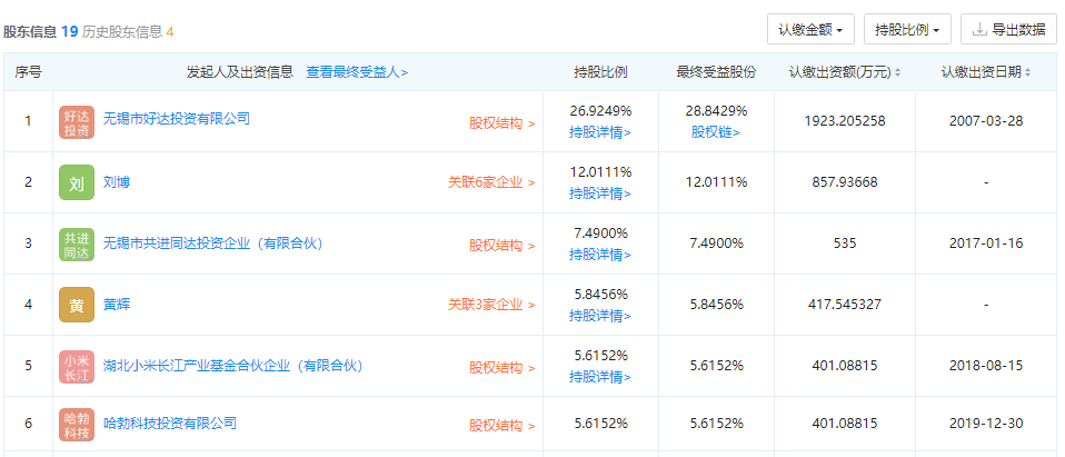
好达电子部分股东信息(Source:企查查)
值得一提的是,华为和小米不仅是好达电子的重要客户,还分别通过哈勃科技和小米长江产业基金入股了该公司。企查查信息显示,目前,哈勃科技和小米长江产业基金各持有好达电子5.62%的股份。另外,中兴创投的投资实体之一中和春生三号投资亦持有好达电子2.14%的股份。
